شكرا لقرائتكم خبر عن تكنولوجيا: براءة اختراع جديدة من أبل لشاشة قابلة للطى يمكنها "إصلاح نفسها" تلقائيا والان مع تفاصيل الخبر
القاهرة - سامية سيد - حصلت شركة أبل على براءة اختراع لتقنية عرض جديدة تستخدم طبقة ذاتية الإصلاح لتصحيح الأضرار التي لحقت بالشاشة - دون أي تدخل من المستخدم، وتصف براءة الاختراع التي تحمل عنوان "الأجهزة الإلكترونية ذات طبقات غطاء العرض المرنة" مفهوم الشركة لشاشة قابلة للطي يمكنها التخفيف من تأثير الخدوش والخدوش على الشاشة.
ومن غير الواضح حاليًا ما إذا كانت شركة آبل تخطط لتقديم طبقة العرض المرنة في منتج مستقبلي، مثل الهاتف القابل للطي.
طبقة ذاتية الإصلاحوفقًا للتفاصيل التي تمت مشاركتها في براءة الاختراع الأمريكية رقم 11991901 التي تم منحها لشركة أبل، وصفت الشركة جهازًا إلكترونيًا مزودًا بمفصلة، مما يسمح له بالثني - وهذا يبدو مشابهًا للهواتف الذكية القابلة للطي الموجودة اليوم، ومثل الهواتف القابلة للطي الأخرى، تشير براءة الاختراع إلى أن مثل هذا الجهاز سيحتاج أيضًا إلى طبقة غطاء شاشة بجزء مرن، بالإضافة إلى أقسام أكثر صلابة.
براءة اختراع ابل
وفي حين أن التكنولوجيا التي وصفتها شركة آبل حتى الآن قد تكون مألوفة لعشاق التكنولوجيا الذين استخدموا هاتفًا قابلاً للطي، فإن براءة الاختراع تصف أيضًا استخدام "طبقة ذات خصائص الشفاء الذاتي" تغطي إما جزءًا من الشاشة القابلة للطي أو كلها، و تذكر أبل أنه يمكن استخدام الشاشة لتقليل الأضرار الناجمة عن الخدوش أو الخدوش التي لا مفر منها أثناء استخدام جهاز قابل للطي.
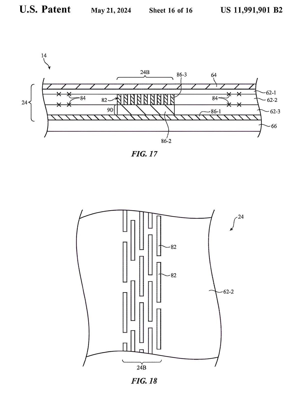
وتقول شركة أبل إن الجزء المرن من الشاشة المزعومة يمكن تجهيزه بطبقة من المطاط الصناعي التي يمكن أن تحسن قدرة المكون على الانحناء، وتحتوي براءة اختراع الشركة على رسوم بيانية توضح استخدام طبقة ذاتية الإصلاح تقع فوق مكون المطاط الصناعي المرن.
وبينما تظهر وثيقة براءة الاختراع أن عملية الإصلاح الذاتي تتضمن مادة الطلاء التي تملأ الخدش أو الانبعاج دون تدخل خارجي، تصف أبل أيضًا طرقًا لبدء الإصلاح الذاتي يدويًا على الشاشة - "الحرارة المطبقة خارجيًا، أو الضوء، أو التيار الكهربائي، أو نوع آخر من التحفيز الخارجي."
وتم تصوير تصميم شاشة الإصلاح الذاتي في عدة أشكال في وثيقة براءة الاختراع، ويُشار إلى الطبقة بالرقم 64، وتظهر أنها تغطي الشاشة بأكملها أو الجزء المرن فقط من الشاشة، ومن أجل توفير "الحافز" لعملية شفاء الشاشة، تصف الشركة استخدام الموصلات الشفافة لتشكيل طبقة تسخين. يمكن تنشيط هذه الطبقة أثناء شحن الجهاز، أو تشغيلها يدويًا بواسطة المستخدم، وفقًا لوثيقة براءة اختراع أبل.
على الرغم من أن شركة أبل حصلت على براءة اختراع لهذه التكنولوجيا، إلا أنه ليس هناك ما يشير إلى متى - أو ما إذا - ستتمكن الشركة من تقديم مثل هذه الشاشة على الأجهزة المستقبلية. وتشير خارطة طريق تم تسريبها مؤخرًا لمنتجات الشركة إلى أن شركة آبل تعمل على الجيل الرابع من iPhone SE، وهاتف قابل للطي، ونظارات AR.
يمكنكم متابعة أخبار مصر و العالم من موقعنا عبر جوجل نيوز
