كتب هذا الموضوع سلطان القحطاني - تستعد سامسونج لإجراء تحسينات ملحوظة على هاتفها الرائد القادم، Galaxy S26 Ultra، رغم أنها قد تحتفظ بنفس عدد ميجابكسلات الكاميرا الرئيسية.
وفقًا لتقارير جديدة، تخطط الشركة لتحديثات في عتاد الكاميرا، تشمل مستشعرًا جديدًا وعدسات محسّنة، بهدف تحسين جودة التصوير دون زيادة في الحجم.
قد تكشف سامسونج عن مستشعر ISOCELL جديد بقياس 1/1.3 بوصة قبل إطلاق الهاتف، بدلًا من مستشعر HP2 المستخدم منذ Galaxy S23 Ultra.
ومن المعتاد أن تقوم سامسونج بترقية مستشعرات الكاميرا في سلسلة S كل ثلاث سنوات، لذا من المتوقع أن يقدّم المستشعر الجديد بنية بيكسل محسّنة تعزز من قدرته على التقاط الضوء، إلى جانب عدسات محسّنة.
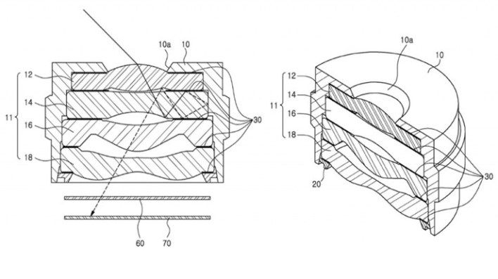
ووفقًا لتسريبات من مصادر صناعية كورية، طورت سامسونج طريقة جديدة لإنتاج العدسات ستجعل وحدة الكاميرا أقل سُمكًا. بدلًا من استخدام طبقات فيلم بين العدسات لمنع التوهجات والظلال، ستعتمد سامسونج على الطباعة بالحبر (Inkjet Printing) لتطبيق طبقة مقاومة للتشويش.
هذه التقنية ستقلل من سماكة الوحدة الكاملة وتساعد على جعل الهاتف أرق مع تقليل بروز الكاميرا الخلفية، مما يمنحه مظهرًا أكثر أناقة.
يُذكر أن وحدة الكاميرا عادة ما تكون الجزء الأكثر سُمكًا في الهواتف الرائدة، لذلك فإن تصغير حجمها سيساعد سامسونج في مواصلة توجهها نحو تصميم هواتف أنحف، مثل ما فعلت مع Galaxy S25 Edge الذي لا يتجاوز سُمكه 5.8 ملم ويحمل كاميرا 200 ميجابكسل.
تشير التسريبات أيضًا إلى أن سامسونج قد تستبدل سلسلة Plus بطراز جديد تحت اسم S26 Edge، مع توجه عام نحو تخفيض سماكة هواتف Galaxy S26 بأكملها.
وإذا نجحت سامسونج في تقليص حجم كاميرا Galaxy S26 Ultra رغم احتوائها على عدسات أكثر تعقيدًا، فقد يكون هذا إنجازًا تصميميًا بارزًا في السلسلة.
المصدر
