كتب هذا الموضوع سلطان القحطاني - قدّمت شركة أبل في عام 2024 طلب براءة اختراع بعنوان “جهاز إلكتروني وغطاء مزوّد بقدرات اتصال عبر الأقمار الصناعية”، وقد ظهر هذا الطلب مؤخرًا إلى العلن، كاشفًا عن فكرة غطاء ذكي يعزز الاتصال الفضائي.
تعتمد الفكرة على تزويد الغطاء بهوائيات إضافية وأكثر تطورًا لتحسين استقبال الإشارة عبر الأقمار الصناعية. ولا يقتصر التصميم على هواتف آيفون فقط، بل يُحتمل أن يشمل أيضًا أجهزة آيباد.
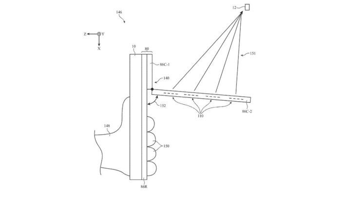
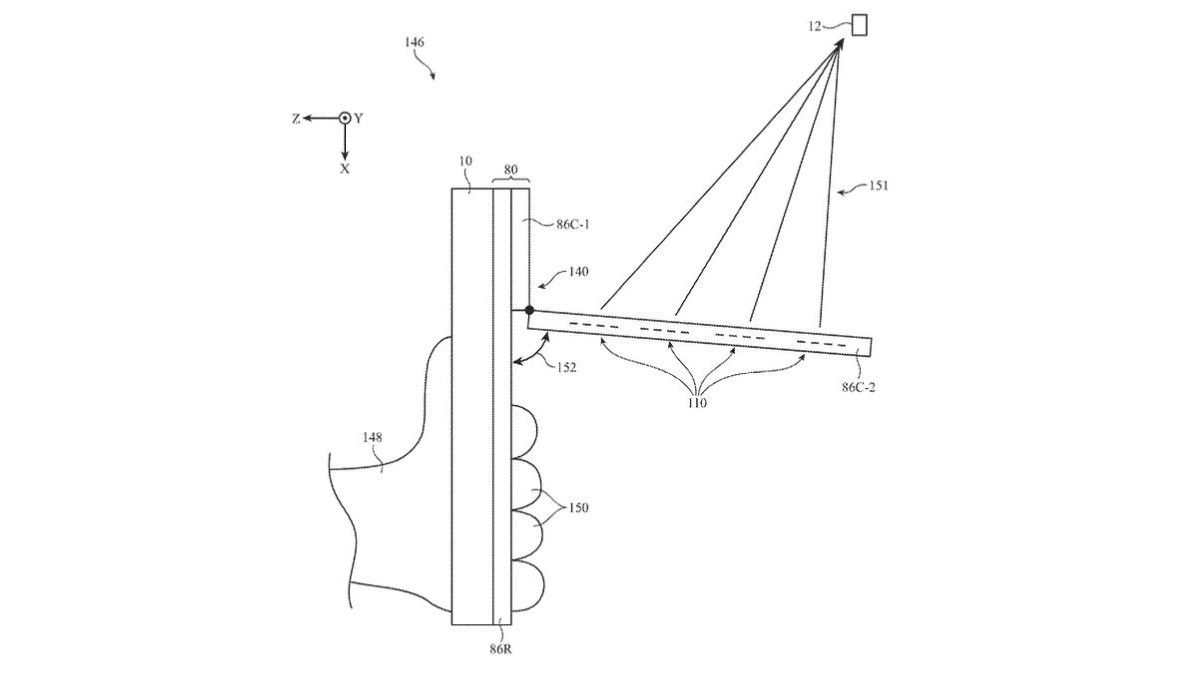
يضمّ الغطاء جزءًا قابلًا للفتح يمكن توجيهه نحو السماء، حيث يحتوي على مصفوفة هوائيات موجهة. ومن خلال هذا التصميم، يُحسَّن استقبال الإشارة، كما يُتجنب حجبها عند إمساك الهاتف، لأن المستخدم لن يلامس الجزء الذي يضم الهوائيات.

وبفضل هذه المصفوفة، يستطيع الغطاء الاتصال بعدة أقمار صناعية في الوقت نفسه. كذلك يعمل كأي غطاء تقليدي من حيث سهولة التركيب والإزالة. وتشير براءة الاختراع إلى إمكانية نقل البيانات لاسلكيًا عبر موصل ترددات راديوية، أو من خلال تقنيات أخرى مثل NFC.
ومع ذلك، تجدر الإشارة إلى أن تسجيل براءات الاختراع لا يعني بالضرورة طرح المنتج في الأسواق. فكثيرًا ما تسجّل الشركات أفكارًا تجريبية لا تتجاوز مرحلة المفهوم، وقد لا ترى النور إطلاقًا. لذلك، ورغم جاذبية الفكرة، يبقى من غير المؤكد ما إذا كانت أبل ستحوّل هذا التصور إلى منتج فعلي.
المصدر

